服务热线
搜题▪组卷

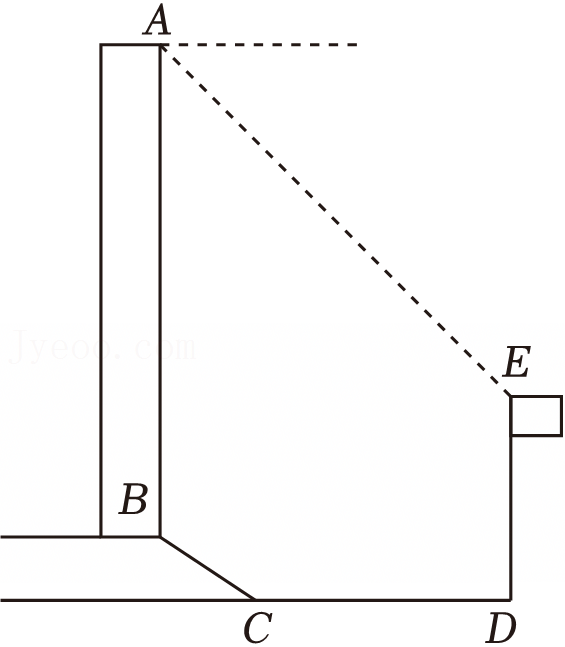
如图,某校教学楼后面紧邻着一个山坡,山坡面是一块平地,DF∥AG,DE⊥AG,斜坡长CD=26米,斜坡CD的坡比为2.4:1.本学期初三学生开展数学学科“综合与实践”活动,主题是测量高度.小瑄选择测量教学楼高度,他的做法是:在教学楼B处安置测倾器,测得此时点D的仰角α=22°,点C的俯角β=58°,然后就可以算出教学楼的高度.请借助已知数据和小瑄提供的数据计算教学楼的高度AB.(参考数据:tan58°≈1.60,sin58°≈0.85,cos58°≈0.53,tan22°≈0.40,sin22°≈0.37,cos22°≈0.93)
| 活动目的 | 测量学校教学楼的高度 | ||||
| 测量工具 | 皮尺、测倾器 | ||||
| 设计方案 | ![]() |
线段AD表示所要测量的教学楼的高度,在点E处安置测倾器测得教学楼顶端A的仰角为α,再次在点F处安置测倾器测得教学楼顶端A的仰角为β,点E,F与教学楼的底部D在同一水平线上. | |||
| 实地测量并记录数据(测倾器的高度相同,BE=CF=1.6m) | 项目 | 第一次 | 第二次 | 平均值 | |
| α | 45° | 45° | 45° | ||
| β | 57.8° | 58.2° | 58° | ||
| EF | 5.7m | 6.3m | 6m | ||
| 参考数据 | sin58°s≈0.85,cos58°c≈0.53,tan58°≈1.60 | ||||
| 活动目的 | 测量建筑物的高度 | |
| 活 动 过 程 |
步骤一:设计测量方案(小组讨论后,画出如图的测量示意图) | |
| 步骤二:准备测量工具 | 皮尺、测倾器 | |
| 步骤三:实地测量并记录数据(A,B,C,D在同一平面上,CD⊥AD于点D) | ①建筑物CD前有一段斜坡AB,斜坡AB的坡度i=1:2.4; ②在斜坡AB的底部A测得建筑物顶点C的仰角为31°; ③斜坡AB长52米; ④在点B测得建筑物顶点C的仰角为53°. |
|
| 步骤四:计算建筑物CD的高度 | ||
| 课题 | 测量某建筑物AB的高度. |
| 测量工具 | 皮尺,旗杆等. |
| 设计方案 | ![]() 建筑物AB正前方有一根高度是17米的旗杆ED,从办公大楼顶端A测得旗杆顶端E的俯角为45°,旗杆底端D到大楼前梯坎底边的距离DC是20米,梯坎坡长BC是9米,梯坎坡度i=2: |
| 参考数据 | 结果精确到0.1米,参考数据: |
如图,某中学一幢教学楼的顶部竖有一块写有“校训”的宣传牌CD,CD=3米,王老师用测倾器在A点测得D点的仰角为30°,再向教学楼前进9米到达B点,测得点C的仰角为45°,若测倾器的高度AM=BN=3米,不考虑其它因素,求教学楼DF的高度.(结果保留根号)
| 活动课题 | 测量湖心岛上的迎宾槐与湖岸上凉亭间的距离 |
| 活动工具 | 测角仪、皮尺等 |
| 测量过程 | 【步骤一】如图,在湖岸上的凉亭A处测得湖心岛.上的迎宾槐C处位于北偏东65°方向; |
【步骤二】从凉亭A处沿湖岸向东方向走了100米到B处,测得湖心岛上的迎宾槐C处位于北偏东45°方向(点A、B、C在同一平面上);![]() |
|
| 解决问题 | 根据以上数据计算湖心岛上的迎宾槐C处与湖岸上的凉亭A处之间的距离(结果精确到1米). |
“绿水青山就是金山银山”.为了解学校附近山坡边一棵直立的大树的高度,该校数学兴趣小组进行实地测量,如图,在坡顶的点C处测得大树顶端A的仰角为53°,大树底端B的俯角为45°;又在同一水平线上的点D处,测得顶端A的仰角为26.5°.已知CD=4米,求大树AB的高度.(结果精确到1米)(参考数据:sin53°≈0.80,cos53°≈0.60,tan53°≈1.33,sin26.5°≈0.45,cos26.5°≈0.90,tan26.5°≈0.50)
如图,小李在斜坡AB上发现了一棵白桦树CD,他想根据所学知识计算该树的高度,于是测得树底部C到坡脚A的距离AC为15米,斜坡AB的坡比为4:3,在距离坡脚7米远的点E处测得白桦树顶点D的仰角为60°,已知点A,B,D,E在同一平面内,且CD⊥AE,求白桦树CD的高度.(结果保留根号)
| 活动名称 | 测量非遗广场古塔的高度 |
| 测量工具 | 测倾器、皮尺 |
| 测量图例 | |
| 测量方法 | 阳光下,小明站在古塔FG影子的顶端A处,此时小亮测出小明的影长AC;然后沿斜坡AD到达观景台点D处,安装测倾器DE,测出塔顶F的仰角. |
| 测量数据 | 小明身高AB=1.75m,小明影长AC=1.75m,斜坡AD的坡度为5:12,AD=39m,测倾器DE=1m,塔顶F的仰角为60°. |
| 相关说明 | 古塔FG的底部G在观景台DN上,点N、G、D在同一水平直线上,且FG垂直于DG,FG、AB、DE均垂直于地面.(参考数据: |
如图,某建筑物的顶部有一块标识牌CD,小明在斜坡上B处测得标识牌顶部C的仰角为45°,沿斜坡走下来在地面A处测得标识牌底部D的仰角为60°,已知斜坡AB的坡角为30°,AB=AE=10米.求标识牌CD的高.
bs@dyw.com
2025-03-04
初中数学 | | 解答题