服务热线
搜题▪组卷

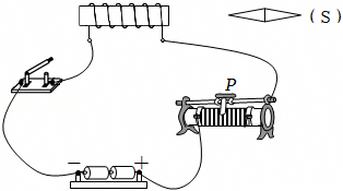
如图所示,滑动变阻器用来控制螺线管的磁性强弱,要求向左移动滑片时螺线管的磁性变强,请按要求将实物图连接好,并在图中虚线框内标出闭合开关后螺线管左端的磁极。

按要求作图:在如图虚线框内画出电池组和滑动变阻器的符号,并用导线连接好电路,要求:开关闭合,小磁针静止时如图所示;当滑动变阻器滑片向右移动时,电磁铁的磁性增强。
如图甲所示的“悬浮灯泡”,下部基座内有一个线圈(送电线圈)和铁芯组成的电磁铁,灯泡内部有闭合线圈(受电线圈)连接的LED灯和磁铁,其内部结构如图乙所示。电磁铁通电后,灯泡能悬浮在空中并发光。图乙中的电源左端为 极,灯泡中的磁体会受到电磁铁的 (选填“吸引”或“排斥”);灯泡内部有一个接收线圈和LED发光元件,灯泡下方的送电线圈通过产生波动的磁场使得在灯的接收线圈中产生一定的电流,从而点亮灯泡,接收线圈产生电流的原理是 。若想让灯泡悬浮得更高,应该将滑片P向 (选填“左”或“右”)移动。
geh@dyw.com
2025-04-05
初中物理 | | 填空与作图题