服务热线
搜题▪组卷
试卷总分:120分 命题人:dyczwuyn 考试时长:120分钟
A.
足球被踢出后在草地上滚动的过程中,运动员对足球做了功
B.
司机费了很大的力也未能推动汽车,但司机对汽车做了功
C.
女孩搬起一个箱子,女孩对箱子做了功
D.
学生背着书包在水平路面上行走,学生对书包做了功
如图是一种切甘蔗用的铡刀示意图,下列说法中正确的是( )
A.刀刃很薄可以增大压力
B.铡刀实质上是一种省力杠杆
C.手沿F1方向用力比沿F2方向更省力
D.甘蔗放在b点比a点更易被切断
一辆汽车在平直的公路上做直线运动,其v-t图象如图所示,汽车在第10s时已行驶了150m,速度达到了20m/s,随后匀速前进,若汽车在行驶过程中所受阻力大小始终为2000N,以下说法正确的是( )
A.在0-20s内汽车的平均速度为15m/s
B.在0-10s内汽车的牵引力大小恒为2000N
C.在10-20s内汽车牵引力做的功为4×105J
D.在10-20s内汽车牵引力做功的功率为4×105W
A.物质的比热容与物体吸收的热量成正比,与物体的质量和温度变化成反比
B.比热容的大小与温度的变化有关,某种物质温度变化越大,比热容越小
C.同种物质比热容不变,不同种物质的比热容一定不同
D.比热容是反映物质自身性质的物理量,与物体吸热多少、质量及温度变化无关
A.物体的内能跟物体的运动速度、物体的温度和物质状态都有关系
B.不同燃料燃烧时,放出热量越多的热值越大
C.质量和初温相同的水和煤油,放出相同热量时煤油温度降低的多
D.内能总是从内能多的物体向内能少的物体转移
如图所示,将一小钢球从a点竖直向上抛出(不计空气阻力),经过b点到达最高点c时速度为零,图中hab=hbc,下列判断正确的是( )
A.小钢球运动到最高点c时受到平衡力的作用
B.小钢球在ac段重力势能的增加量与动能的减小量相等
C.小钢球在ab段克服重力的做功小于在bc段克服重力的做功
D.就a、b、c三点而言,小钢球在a点具有的机械能最大
如图所示,甲、乙两个质量不同的小球从相同高度静止释放,甲球下落过程中经过P、Q两点,忽略空气阻力,下列说法正确的是( )
A.着地瞬间,两球的动能相等
B.甲球在P点和Q点的机械能相等
C.释放瞬间,两球的重力势能相等
D.从释放到着地,两球所受重力做的功相等
A.图甲,厚玻璃内的空气被压缩时,空气的内能减少
B.图乙,瓶子内的空气推动塞子跳起时,空气的内能增大
C.图丙,试管内的水蒸气推动了塞子冲出时,水蒸气的内能减少
D.图丁,汽缸内的气体推动活塞向下运动时,气体的内能增大
在番茄上相隔一定距离分别插入铜片和锌片,即为番茄电池。将铜片、锌片与电压表相连,如图所示,下列说法正确的是( )
A.锌电极是番茄电池的正极
B.将电压表换成电流表就能测出两极间的电流
C.番茄电池形成通路后,电子将从铜电极流入
D.将电压表直接接在该番茄电池上,会损坏电压表
小强把台灯的插头插在如图所示的插座上,插座上有一个开关S1和一个指示灯L1(相当子电阻很大的灯泡)。台灯开关和灯泡用S2、L2表示,当只闭合S2时,台灯不发光,当闭合S1时,指示灯发光,再闭合S2时,台灯发光;如果指示灯损坏,S1和S2时都闭合,台灯也能发光,如图中设计的电路符合要求的是( )




A.灯L1两端的电压为3V
B.灯L1两端的电压为2V
C.电源电压与灯L1两端的电压之和为3V
D.灯L2两端的电压为2V
如图是电冰箱的简化电路图。图中M是电冰箱压缩机内的电动机,L是电冰箱内的照明灯。下列判断错误的是( )
A.S1断开、S2闭合时,照明灯亮,电动机停止工作
B.S1、S2都闭合时,照明灯与电动机并联
C.关上冰箱门时,S1自动断开,使得照明灯熄灭
D.冰箱内温度降低到设定温度时,S1自动断开,电动机停止工作
| A.灯L1、L2都能发光 | B.只有灯L1能发光 |
| C.只有灯L2能发光 | D.灯L1、L2都不能发光 |
如图所示,小明用电流表来测量a、b、c、d四处的电流,他把测量结果记录在草稿纸上,由于不小心丢失了其中两个数据,只剩下了0.2安、0.3安两个电流值,则另两个丢失的电流值不可能是下面的哪个数值( )
| A.左端下沉 | B.右端下沉 |
| C.仍然保持水平状态 | D.无法确定 |
如图所示,甲、乙两个容器形状不同,现有两块完全相同的金属块用细线系着分别浸没入同样深度,这时两容器的水面相平齐,如果将金属块匀速提升一段距离,直到金属块提离水面,不计水的阻力,则( )
A.在甲容器中提升时,拉力甲做功较多
B.在乙容器中提升时,拉力乙做功较多
C.在两个容器中提升时,拉力做功相同
D.做功多少无法比较
A.面团对杆的作用力方向向下
B.面团对杆的作用力大小等于F
C.面团被压扁说明力能使物体发生形变
D.A点向下移动的距离小于B点向下移动的距离
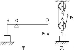
如图所示,用相同的滑轮安装成甲、乙两种装置,分别用FA、FB匀速提升重力为GA、GB的A、B两物体,不计绳重和摩擦。若GA>GB,则η甲 η乙;若FA=FB,则GA GB.(选填“>”、“<”或“=”)
某工人用如图所示的装置,将G=900N的重物沿斜面向上匀速拉动4m用时30s,该过程中物体上升的竖直高度为2m,此装置的机械效率η=75%该过程中,工人所用的拉力F= N,拉力做功的功率P= W


| 实验次数 | 钩码重量G/N | 钩码上升高度h/m | 绳端拉力F/N | 绳端移动距离s/m | 机械效率η |
| 1 | 4 | 0.1 | 2.7 | 0.2 | 74% |
| 2 | 4 | 0.1 | 1.8 | 0.3 | 74% |
| 3 | 8 | 0.1 | 3.1 | 0.3 | 86% |
| 4 | 8 | 0.1 | 2.5 |

| 实验小组 | L1两端电压/V | L2两端电压/V | 串联总电压/V |
| 1 | 1.5 | 3.0 | 4.5 |
| 2 | 1.2 | 1.8 | 3.0 |
| 3 | 1.5 | 0.9 | 6.0 |
如图所示的是我国品牌东风载重汽车,表格中是汽车的部分参数,满载时以54km/h的速度在平直的公路上匀速行驶了2h,耗油60kg,发现水箱里的水从20℃升高到90℃,匀速行驶时受到的摩擦阻力是车重的0.04倍,已知水的比热容是4.2×103J/(kg?℃),柴油的热值是4.0×107J/kg,g取10N/kg。求:| 名称 | 东风双后桥自卸车 |
| 发动机燃料 | 柴油 |
| 装备总质量m1/t | 10 |
| 最大载重质量m2/t | 10 |
| 水箱的容积V/L | 10 |
dyczwuyn
2018-11-12
初中物理 | 段考 | 难度:2.03
| 下载试卷 | 收藏 |
| 平行组卷 | 细目重组 |
| 试卷分析 | 加入白板 |
| 加卷篮 | 更多功能 |
平行组卷卷生成中,请等待