服务热线
搜题▪组卷

| 实验次序 | 动力F1/N | 动力臂l1/cm | 阻力F2/N | ■ |
| 1 | 1.0 | 5 | 0.5 | 10 |
| 2 | 1.5 | 10 | 1.0 | 15 |
| 3 | 1.0 | 10 | 2.0 | 5 |


| 实验次数 | 动力F1/N | 动力臂l1/cm | 阻力F2/N | 阻力臂l2/cm |
| 1 | 1 | 10 | 2 | 5 |
| 2 | 2 | 10 | 1 | 20 |
| 3 | 2 | _____ | 3 | 10 |

| 实验次数 | 1 | 2 | 3 | 4 | 5 | 6 | 7 |
| 钩码个数 | 4 | 4 | 4 | 4 | 3 | 2 | 1 |
| 钩码距竖杆距离/cm | 5 | 8 | 13 | 15 | 9 | 6 | 5 |
| 实验现象 | 快速 滑落 |
慢慢 滑落 |
刚好 滑落 |
紧紧 锁住 |
刚好 锁住 |
刚好 锁住 |
刚好 锁住 |

| 实验次数 | 动力F1/N | 动力臂l1/cm | 阻力F2/N | 阻力臂l2/cm |
| 1 | 1 | 10 | 2 | 5 |
| 2 | 2 | 10 | 1 | 20 |
| 3 | 2 | _____ | 3 | 10 |
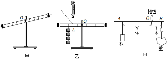
如图甲所示,小林利用刻度均匀的匀质杠杆进行“探究杠杆的平衡条件”的实验。| 次数 | 左侧 | 右侧 | ||
| F1/N | l1/cm | F2/N | l2/cm | |
| 1 | 1.5 | 10 | 3.0 | 5 |
| 2 | 2.0 | 15 | 1.5 | 20 |
| 3 | 3.0 | 20 | 4.0 | 15 |

| 实验次序 | 动力F1/N | 动力臂l1/cm | 阻力F2/N | ■ |
| 1 | 1.0 | 5 | 0.5 | 10 |
| 2 | 1.5 | 10 | 1.0 | 15 |
| 3 | 1.0 | 10 | 2.0 | 5 |


如图甲所示,小林利用刻度均匀的匀质杠杆进行“探究杠杆的平衡条件”的实验。| 次数 | 左侧 | 右侧 | ||
| F1/N | l1/cm | F2/N | l2/cm | |
| 1 | 1.5 | 10 | 3.0 | 5 |
| 2 | 2.0 | 15 | 1.5 | 20 |
| 3 | 3.0 | 20 | 4.0 | 15 |

| 实验次数 | 1 | 2 | 3 | 4 | 5 | 6 | 7 |
| 钩码个数 | 4 | 4 | 4 | 4 | 3 | 2 | 1 |
| 钩码距竖杆距离/cm | 5 | 8 | 13 | 15 | 9 | 6 | 5 |
| 实验现象 | 快速 滑落 |
慢慢 滑落 |
刚好 滑落 |
紧紧 锁住 |
刚好 锁住 |
刚好 锁住 |
刚好 锁住 |





sa@dyw.com
2024-11-16
初中物理 | 九年级上 | 实验题